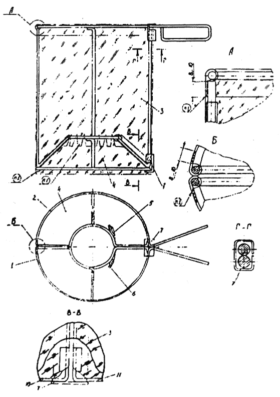
Устройство для сбора колорадского жука.
Сборочный чертеж